當前位置:離心泵廠家 / 新聞動態 / 公司新聞 / 液壓隔膜計量泵結構圖
液壓式隔膜計量泵可輸送溫度-30℃-100℃,粘度為0.3-800mm2/s不含固體顆粒等腐蝕性或非腐蝕性液體介質。不同型號的計量泵均可根據用要求裝配變頻電機(能接收4-20mA電流信號)或防爆電機。
液壓式隔膜計量泵可廣泛用于石油、化工、紡織、食品、造紙、原子能技術、電廠、塑料、制藥、水廠、環保等工業和科技部門。
液壓式隔膜計量泵結構圖紙
液壓式隔膜計量泵由電動機傳動機構、液壓系統等組成。 傳動機構
行程調節機構由曲軸、偏心輪、調節螺母、調節絲桿、調節手輪(柄)、刻度盤〔指針)和標尺構成,由改變偏心距來達到柱塞的相對行程。
由電機動力傳遞給蝸桿、蝸輪實現減速旋轉,促使曲軸、連桿機構作往復運動,帶動柱塞產生液力。
液壓系統
液壓式隔膜計量泵液力端的柱塞由傳動端的曲柄連桿機構的往復運動帶動進行工作。柱塞在液壓腔內作往復運動,促使液壓油的壓力變化,使液壓隔膜式撓曲位移來輸送介質,液壓腔內液壓油量的相對穩定,由三閥的功能來保持。
液壓液壓式隔膜計量泵的液壓系統,其結構由柱塞、缸體、缸蓋、進出口閥、液壓隔膜式和三閥組成(即:放氣過載閥、限位閥、補償閥)。在工作中由膜片隔開液壓油和介質,故液壓式隔膜計量泵有無泄漏的優點。
過載閥自動排出液壓油中進入液壓腔內的氣體,保證工作的平穩,避免了液壓油過多或排放管道受阻產生超壓自動開啟過載閥,達到保護目的。
限位補償裝置是借助液壓隔膜式推動限位閥的開放,按液壓腔內的真空度隨時補充油量,保證液壓腔內液壓油的充滿。

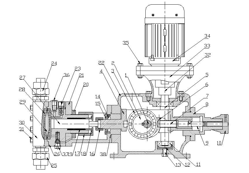
液壓式隔膜計量泵裝配圖
| 序號 | 零件名稱 | 件數 | 序號 | 零件名稱 | 件數 | |
| 1 | 主軸 | 1 | 20 | 圓螺帽 | 1 | |
| 2 | 偏心輪 | 1 | 21 | 泵頭聯接頭 | 1 | |
| 3 | 滾輪 | 1 | 22 | 泵體 | 1 | |
| 4 | 連桿 | 1 | 23 | 過載閥 | 1 | |
| 5 | 蝸桿 | 1 | 24 | 排水閥總成 | 1 | |
| 6 | 蝸輪 | 1 | 25 | 進水閥總成 | 1 | |
| 7 | 頂桿 | 1 | 26 | 泵頭底座 | 1 | |
| 8 | 調節器 | 1 | 27 | 柱塞 | 1 | |
| 9 | 調節桿 | 1 | 28 | 膜片底座 | 1 | |
| 10 | 手輪 | 1 | 29 | 膜片 | 1 | |
| 11 | 軸承 | 1 | 30 | 泵頭 | 1 | |
| 12 | 調節底板 | 1 | 31 | 泵頭螺栓 | 6 | |
| 13 | 調節螺絲 | 1 | 32 | 傳動接 | 1 | |
| 14 | 油封 | 1 | 33 | 電機座 | 1 | |
| 15 | 油封壓板 | 1 | 34 | 電機 | 1 | |
| 16 | 聯接螺帽 | 1 | 35 | 螺栓 | 4 | |
| 17 | 填料并帽 | 1 | 36 | 放氣螺絲 | 1 | |
| 18 | 填料壓板 | 1 | 37 | 補油閥 | 1 | |
| 19 | 填料 | 1組 | 38 | 密封圈 | 1 |